記事を保存
記事を保存
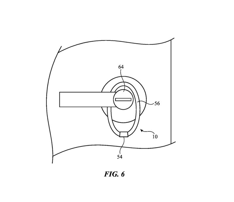
特許文書には、ウェアラブル・ループをユーザーの手首や足首、人間またはペットの首に装着したり、鍵やドアノブなどに取り付けたりすることで、空間データの取得やトラッキングが行えることが記載されている(特許資料のスクリーンショット)
各界のリーダーが注目、「異彩」の快進撃に迫る!別冊『ヘラルボニー現象』ついに発売!
経営者に寄り添った銀行サービスを。SMBC×シンプレクスが挑んだ「Trunk」開発の裏側
四国の若手IT人材が集結、地元企業に挑む!産官学“銀”で歩む地方イノベーター創出の道
人気絶大、父性的、親日家。日本人の多くがまだ知らない、UAE・ムハンマド大統領とは
変化の時代を生き抜く成長エンジンをつくる ――アデコの「2030成長戦略」と「未来対応型人財」の重要性とは
孤独な脱炭素化はもう終わり。パタゴニアが日本のビジネスパーソンへ贈る「対話の招待状」
山口周とサントリーが語る、イノベーションを生み出す雑談の力
東京建物が追求する「NEW LUXURY」のかたち
選んだ道を正解にする――英語コーチングで市場を切り拓いた起業家の信念 〜フロンティア精神の体現者たち〜
艶やかな夜にむけて─連載 Forbes JAPAN CIRCLE 30
売上120%増を実現。創業200年の老舗菓子店が挑んだ「副業プロ人材」との協業
「世界一幸せな超高齢社会」の実現へ──MUFGが伴走する介護テックスタートアップ「カイテク」
大学発・共創で拓くソーシャルインパクト
利益の先にあるもの──インテグリティを貫く経営者たち 「EY アントレプレナー・オブ・ザ・イヤー 2025 ジャパン」の表彰セレモニー
公共交通の提供価値を高める東急電鉄の挑戦
世界に羽ばたくアントレプレナーたち。EOYジャパン アルムナイがつなぐ、日本型アントレプレナーシップの未来
激化する量子コンピューティングのグローバル競争に日本の勝算はあるか?――鍵は越境・挑戦する人材の育成
上へ、下へ、人が巡る“美食の塔”「D-Scape 神田鍛冶町」がつくる、大切な人との景色
「クリエイティブを経営にインストールせよ」ファミリーマートとコクヨが挑むビジネスとデザインの融合
混迷の時代にこそ問われる、未来を見通す力 ベイリー・ギフォードが実践する長期投資術の本質
「レスポンシブル・ラグジュアリー」を実現。モナコで世界的なMICEが開催される理由
「住まい」から「未来資産」へ。BRANZが示す長期価値のかたち
深刻化する地方の人材不足に福音をもたらすローコード開発
ユーザーにとって価値のある開発を――イタンジCTOがオープンプラットフォーム戦略で描く「ITANDI経済圏」
知と創造で未来を拓くための「産業アーキテクチャ」
麗しきひとの身支度
成功の裏側にある「運命的な出会い」〜社会の基盤を変える起業家2人が明かした、急成長の軌跡